Offset fino ai limiti

Top  Previous  Next

Nome Comando al Prompt: OFFS

 

Esegue l'offset di un'entità di tipo LINEA (per ora non supporta altre entità) in modo tale che la nuova linea sia prolungata fino ad intersecare i limiti del disegno, dell'estensione massima o della finestra del disegno.

Modificando la variabile CP0110 di CADPak, presente nel file CADPak1.var nella cartella CADPak, è possibile indicare il significato che si desidera attribuire al termine LIMITI:

 

CP0110 0)        ;R15C29 - Offset ai limiti=0, all'est. max=1, 2 a video

 

(CP0110 0) – Offset ai limiti:la nuova linea sarà prolungata fino all'intersezione con i limiti del disegno. Affinché tale comando funzioni correttamente si dovranno impostare i limiti del disegno con il comando LIMITI di AutoCAD.
(CP0110 1) – All'est. max:la nuova linea sarà prolungata fino all'intersezione con i limiti della finestra visualizzata allo Zoom estensioni.
(CP0110 2) – A video:la nuova linea sarà prolungata fino all'intersezione con i limiti della finestra del disegno.

 

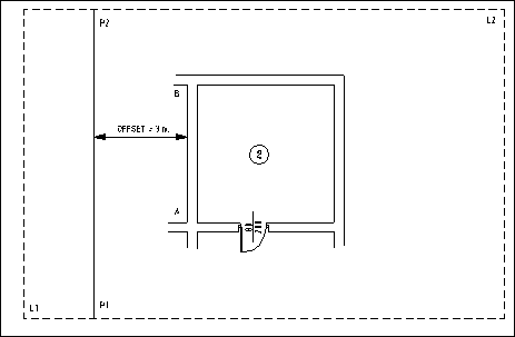
Nella figura seguente, i punti L1 ed L2 indicano i limiti del disegno.

Eseguendo un offset di 3.0 metri verso sinistra della linea AB, si ottiene la nuova linea estesa fino all'intersezione virtuale col rettangolo dei limiti (P1 e P2).

 

clip0377_CadUtility