Inserisci barre in sezione

Top  Previous  Next

Nome Comando al Prompt: DDCEMENTI ARMATI_QUOBAR

 

Esegue la quotatura o la creazione delle barre longitudinali in una sezione trasversale.

Esempio:

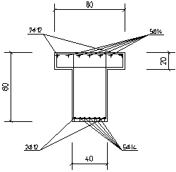
Si vogliano quotare 3 barre longitudinali in una sezione a T 80 x 20. La sezione è stata disegnata con il comando DDCEMENTI ARMATI_SEZ (in R12C04 ) e le staffe con DDCEMENTI ARMATI_STAFFE.

 

clip0011_Cementi

clip0012_Cementi        

 

 

clip0013_Cementi